# 双孔梁(双排梁)
金属构建模块系列之双孔梁,也叫双排梁。采用铝合金6061-T5挤压型材,经CNC加工,喷砂或者拉丝处理,然后表面进行阳极氧化处理,颜色为红色或者蓝色,美观,耐腐蚀,不生锈,耐刮花,易清洁。
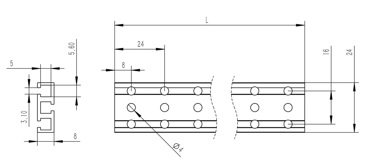
型材拉伸面尺寸为24x8mm,设计有3条5.6x5槽,型材拉伸出来的槽贯穿整个梁,可以放入梁连接器(一个用于梁连接的配件)或者M3六角螺母或者M4方形螺母,槽上任意位置都可以作为固定点。
双孔梁的宽度方向有一排均匀分布的3个孔,孔距8mm。沿着长度方向阵列,间距16mm。第一个孔和最后一个孔与端面的距离是8mm。
双孔梁通常根据长度方向的孔数量命名,例如6孔梁代表长度方向有6排孔,常用的有6孔、8孔、9孔几种规格。
N孔梁的长度为,化简后是mm。共计个孔,孔径为4.1mm,可以方便地使用M4螺丝固定,也可以放入4mm的轴,阵列的孔位可以与乐高Technic系列积木匹配。兼容Makeblock双孔梁。
双孔梁可以提供更多固定点,提供更多的连接可能,从而制作出更复杂的机械结构,适用于可编程教育机器人组件, 机器人快速原型搭建。
双孔梁的截面设计使得梁的重量相比导轨梁重量更轻,适合用于制作智能小车框架应用,更轻的车身重量惯性减小,动作更敏捷。相比导轨梁强度有所降低,不适合用作长距离结构支撑用途。
规格
- 长度:(根据长度方向的孔数计算,公式)
- 宽度:24mm
- 厚度:8mm
- 孔径:4.1mm
- 材料:铝合金6063,质量轻,强度高
- 表面处理:喷砂/拉丝,阳极氧化红色/蓝色
- 重量:(根据总长度计算,约0.256kg/米)
- 加工工序:型材挤压、下料、CNC钻孔、拉丝/喷砂,阳极氧化,包装
型号表
| 规格 | 长度mm | 宽度mm | 高度mm |
|---|---|---|---|
| 6孔 | 96 | 24 | 8 |
| 8孔 | 128 | 24 | 8 |
| 9孔 | 144 | 24 | 8 |
购买链接: 淘宝
资料清单
外观图




































尺寸图

组装示意图






